Какая обвязка требуется для мигания 12В лампочкой на 5-30Вт?
- Войдите на сайт для отправки комментариев
Имеется мотоцикл, ардуино, аккумулятор 12В и лампочки поворотов (возможно поставлю светодиоды, но в идеале хотелось бы управлять и головным светом, т.е. галогеновой лампой на 60Вт).
Чтобы запитать ардуино куплю навернор что-то вроде этого http://www.ebay.com/itm/LM2577-DC-DC-Adjustable-Step-up-Power-Converter-...
А вот с подключением ламп не совсем понятно: вроде бы можно ограничиться покупкой реле вида http://www.buyincoins.com/item/27801.html (смущает механика в реле), а с другой стороны обвязка в виде MOSFET-транзистора не слишком сложная должна быть.
Посоветуйте как попроще можно это дело обвязать? Желательно бы схемку с указанными номиналами (я совсем новичок в радиотехнике)
P.S. Напряжение в сети мотоцикла колеблется ~12-14В
http://arduino.ru/forum/proekty/dnevnye-khodovye-ogni-dlya-avto
maksim, мне не плавное изменение яркости надо. Мне надо чтобы лампу можно было вкл-выкл и при этом обезопасить ардуинку.
Какая разница плавное или нет...
смотрим азбуку подключений :)
Grand merci! :) Даже не подозревал, что такое есть.
Вот тут более подробная нашлась - https://dl.dropboxusercontent.com/u/32245429/arduinoBasicConnections.pdf
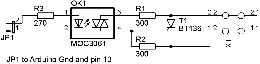
Для поворотников подойдет видимо вот эта обвязка
(для головного света надо другой MOSFET, поскольку галогенки жрут ~5A)
Рано радуетесь. Вы думаете почему в той теме такая непростая объвязка? Просто так?
А потому что у большинства машин и мотоциклов масса это минус аккумулятора, а следовательно что бы применить схему с N-канальным мосфетом, вам придется дорабатывать (протягивать доп. провода) штатную проводку, а в случае когда, например, поворотник имеет крепление оно же контакт - масса, придется еще и его дорабатывать - разрывать массу от крепления.
Для того что бы ничего не переделывать и использовать штатную проводку нужен P-канальный мосфет. В таком случае лучше для управления Р-канальным мосфетом использовать оптрон, и схема проще и развязка с 12В будет.
maksim, если честно я мало что понял.
Можно чуть подробнее что потребуется в первом случае (плюс и минус от аккума имеются; провод, уходящий на оба поворотника, будет там же)?
Про второй вариант: схемы в той теме нет => я ей воспользоваться не смогу, поскольку знаний нет.
maksim, если честно я мало что понял.
У большинства автомобильной техники минус аккумулятора подается на кузов - масса. И электрооборудование устроено таким образом что "минус" берется с кузова, а не подводится с аккумулятора. То есть "минус" (правильнее земля) устройств постоянно подключен к кузову - к массе.
Если вы посмотрите вашу схему, то увидите, что "плюс" устройства должен быть постоянно подключен к плюсу источника питания - то есть плюс аккумулятора должен быть подключен к массе, а транзистор управляет "минусом" устройства. Что совершенно не подходит под написанное выше.
Поэтому, либо вы используете другую схему, которая "управляет плюсом" устройства, а не "минусом", либо для вашей схемы вам придется переделывать проводку и возможно сами приборы (поворотник, фара).
maksim, спасибо, так намного понятнее. У меня на мотоцикле для земли обычно провод используется, а не с рамы (=кузова).
Про постоянно подключенный плюс - не задумывался. Придется искать другую схемку :(
P.S. Вот тут вроде как раз моё обсуждается - http://forum.arduino.cc/index.php?topic=130384.0
И схемка нашлась на второй страничке :)
P.P.S. Вот еще нашел - http://www.getchip.net/posts/062-kak-podklyuchit-k-mikrokontrolleru-nagruzku/ . Изучаю...
Твердотельные реле понравились. Интересно есть ли на 5-10А за вменяемую цену?
Реле идут от 200руб за штуку на ebay на 5А, да и по размерам мрак полный.
Видимо придется на MOSFET-делать. PNP транзистора не требующего обвязки не нашел :( Потому наверно придется использовать схему с драйвером верхнего плеча - http://easyelectronics.ru/upravlenie-moshhnoj-nagruzkoj-postoyannogo-toka-chast-3.html
Или схему отсюда http://www.bristolwatch.com/ele/transistor_drivers.htm
P.S. По-моему это полный Пэ, когда для тривиальной задачи помигать лампочкой, приходится такое городить :( Хотя похоже, что "This is SPARTA" и придется привыкать.
Схемы из #9 поста более чем достаточно.
Ага. Правда, для индуктивной нагрузки я бы добавил шунтирующий диод ей параллельно. так, на всякий случай. :-) А с драйвером не все так просто. Разрядится бустрепный кондер. Что тогда? Это для ШИМа хороша схема.
PS Для поворотников, наверное, годится схема с драйвером. Может бустрепный конденсатор в 10 мкФ поставить. Для фар нет. Блокировочные конденсаторы в питание не забывайте ставить.
Почитал еще немного, посмотрел стоимость твердотельных реле еще раз.
Решил остановиться оптопаре + симистор для поворотников и на общее питание и фару (до 25A) поставить твердотельное реле.
я не матерый радиотехник, но мне кажется тиристор откроется и будет открытым пока не снимите силовое питание, хотя могу ошибаться :)
Michal, угу, нашел, что на постоянку (мой случай) тиристор будет всегда открыт :(
Есть еще оптореле на MOSFET`ах.
StrangerM, а схема включения с ним будет та же самая что и с твердотельным реле, т.е. резистор от реле от входа ардуино до реле и само реле?
Я правильно понимаю, что мне вот эти подойдут? На поворотники (24Вт) можно поставить на 3А, а на фару на 7А? Что-то поисковики, ebay и aliexpress про них (список по ссылке выше) мало что знают, а в местных магазинах, аля чип-дип цена будет кусаться.
Вот еще нашел утверждение:
> тиристор для постоянки, симистор как для постоянки так и для переменки
Т.е. видимо возможно воспользоваться схемой с оптореле, заменив симистор на тиристор.
И похоже, что реализованные модули продаются за вполне вменяемые деньги. Я почему то думал, что там механические реле стоят (синяя коробка), а не оптопара. Хотя в описании есть, что это оптопара.
Ну да. Хотя есть управляемые по входу напряжением (а не током, как со СД). Допустимый коммутируемый ток сами от мощности посчитайте и коэф. запаса не меньше трех. У лампы, пока нить не нагреется, довольно низкое сопротивление. Поэтому бросок тока при включении.
Про тиристор в вашем случае забудьте.
jq )
http://img.pixs.ru/storage/1/1/1/morgaempng_1328043_10479111.png
О БЛИН! ИЗВИНЯЮСЬ
тупанул!
вот правильно
http://img.pixs.ru/storage/1/1/1/morgaempng_1328043_10479111.png
удалите предыдущее сообшение пожалста :)
Почему-бы не включить по нормальному - с открытым коллектором?
Тем более pnp транзисторы были всегда хуже по насыщению чем npn
Тем более ваш транзистор не насытится никогда
Viktorrr, trembo, проблема в том, что надо отсекать плюс, ибо по раме минус бегает, а так и до коротыша недолго.
А кто при оптронной развязке земли или блоки питания соединяет?
Между входом-выходом могут быть киловольты ! В зависимости от оптрона.
Для вашего 4n35 это 5300 Вольт или 7500 после специального отбора.
А кто при оптронной развязке земли или блоки питания соединяет?
Между входом-выходом могут быть киловольты ! В зависимости от оптрона.
Для вашего 4n35 это 5300 Вольт или 7500 после специального отбора.
ды можно как угодно сделать, вопрос пустяковый, по поводу насыщения транзистора, то составной транзистор и не требует дополнительных приблуд, он уже с усилителем. по поводу плюс оторвать от минуса, так он и так оторван через лампочку, лампочка сгорела, и всё, току нету, а оптопара не даст погореть вашей дуине даже если у вас будет индуктивная нагрузка. все эти платы для ардуин, что продают китайцы, они для дурачков, там могут продать резистивный делитель за 10 баксов, когда ему цена три копейки :)
> все эти платы для ардуин, что продают китайцы, они для дурачков
Себя я дурачком не считаю. Мне проще купить готовое устройство, чем делать обвязку, даже если там пару кондеров и резисторов поставить (их то надо покупать отдельно). Не все же электронщики. Я, например, программист в чистом виде :)
А можно схему привести (с местом где нагрузка) где плюс рвется?
и не морочьте голову. Реле на 5 вольт обмотка. транзистор любой NPN. Резистор несколько сот Ом.
UPD: забыл нарисовать гасящий диод в обратную полярность катушки реле.
и не морочьте голову. Реле на 5 вольт обмотка. транзистор любой NPN. Резистор несколько сот Ом.
UPD: забыл нарисовать гасящий диод в обратную полярность катушки реле.
что значит не морочьте голову? дали человеку простейшую схему, делов на 10 минут спаять, ну и купить в любом магазине радиодеталей. а реле это прошлый век ващето :) и имеет индуктивную составляющую, из за которой частота переключений будет ограничена, чего не будет в транзисторном варианте
Aikon я чета не понял, что там про то где чтото там рвется?? :)
пост выше я писал для "Aikon".
1."лампочка поворотов" - о какой частоте вы говорите? 1Гц? суръёзная частота.
2. Человеку надо что бы в момент "откл" не было напряжения на лампе. т.к. "минус" на раме.
3.Может и прошлый век. Но надежная развязка.. и хоть минус "рвать", хоть плюс.
ИМХО.
я вообще не понимаю что значит рвать плюс или минус, потому что рвется цепь между плюсом и минусом, без разницы в каком месте вы расположите нагрузку и прерыватель, если она не индуктивна, а лампочка как известно активная нагрузка
А РЕЛЕ это прошлый век, и не такое надёжное как вы говрите :) да и нафига делать электронную начинку на контроллере, если вы потмо поставите реле?? купил реле поворотов в магазине, и забыл нафиг про ардуину ;)
Life23, а кто на схеме кто?
Поворотник питается от 12В, Ардуинка от 5В, земля у них как понимаю общая.
Viktorrr, реле, если и буду ставить, то либо твердотельные, либо на опторазвязке. Механику сразу отмел.
Реле поворотов не хочу, поскольку хочется сделать еще и аварийку и при этом на пульте не делать дополнительную кнопку (включить поворот и мигнуть дальним для включения аварийки и выключить поворотник для выключения аварийки). А повесив на реле гудок и добавив датчик наклона, можно сделать простую сигналку :)
Вот так выглядят пульты современных мотоциклов (по мне ахтунг)
значит надо нажатием одной кнопки сделать две функции, например включение поворотов от кратковременного нажатия кнопки, а аварийка например при нажатии той же кнопки, но длительностью нажатия 3 секунды например
:)
Viktorrr, именно для этого арудуино и решил использовать. Только моем мотоцикле на поворотниках кнопка с фиксацией, т.е. трехпозиционный переключатель левый - выкл - правый. А вот кнопка мигнуть - она без фиксации. Её на дополнительные нужды и хочу использовать (проблем с программной частью совсем нет).
Из ардуины так же буду делать приборку и спидометр.
ааааа, ну давай потом покажешь :)
я вот купил ардуину, а ща думаю, нафига ?? надо было програматор покупать и панель DIP
http://greenchip.com.ua/image/product/5/3/avr910usb2.jpg
http://greenchip.com.ua/image/product/5/24/DIP%20Board.jpg
Заказал пару твердотельных реле. Если на мотоцикл не воткну, то полюбому в хозяйстве пригодятся.
А вот что еще нашел у китайцев. Заявлено аж 100V/33A, а сделано на недорогих IRF540 + что-то еще белое.
Можно в моем случае данную схему использовать или там как обычно + -> нагрузка -> полевик -> минус?